Axelförfrågan
Vi har ett brett sortiment av kompletta hjulaxlar. De kompletta hjulaxlarna finns dock inte publicerade på vår E-handel. Önskar du beställa en hjulaxel eller en komplett axelsats, vänligen fyll i nedan förmulär så hör vi av oss inom kort.
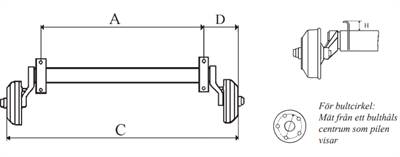
Ritning axel släpvagn

Ritning axel husvagn
